Pezón de tubería y acoplamiento
-
Accesorios de tuberia
- Brida
-
Accesorios de tubería forjados
- Sindicato de soldadura
- SOCKEL SELD LATERAL
- Cross de soldadura de enchufe
- Acoplamiento de la mitad de la soldadura del zócalo
- Acoplamiento de soldadura de enchufe
- Tapa de soldadura de enchufe
- Camiseta de soldadura
- SOLECHE SOLDD 90 grados Codo
- SOLECHE SOLDD 45 grados Codo
- Inserción de reducción de soldadura de zócalo
- Socket Weld x Unión roscada femenina
- Unión de soldadura a tope
- Codo de 45 grados roscado
- Codo de 90 grados roscado
- Codo de calle enhebrado
- Camiseta roscada
- Tapa roscada
- Adaptador roscado
- Cruzado
- Lateral roscado
- Buje de descarga
- Buje de cabeza hexágono
- Acoplamiento roscado
- Medio acoplamiento roscado
- Enchufe de cabeza hexágono
- Enchufe de cabeza redonda
- Enchufe de cabeza cuadrada
- Sindicato
- Masculino x Unión hilada femenina
- Sindicato de tuercas
- Rayos de pezón y tapones de toro
- Salida de soldadura a tope
- Salida del codo
- Salida de pezón con bridas
- Salida lateral
- Salida del pezón
- Salida de soldadura
- Salida
- Escala enhebrada
- Accesorios de tubería de soldadura a tope
-
Accesorios de acero inoxidable 150 libras atornilladas
- Acero inoxidable atornillado 45 codos
- Acero inoxidable atornillado 90 codos
- Acero inoxidable atornillado 90 codos callejeros
- Acero inoxidable atornillado en igual camiseta
- Acero inoxidable atornillada camiseta reducida
- Acero inoxidable atornillado
- Acero inoxidable Unión CONICAL FF FF
- Acero inoxidable Unión atornillada MF MF
- Acero inoxidable Unión atornillada MM MM
- Pezón de manguera atornillada de acero inoxidable
- Pezón paralelo de acero inoxidable atornillado
- Acero inoxidable atornillado el zócalo reducido MF
- Acero inoxidable atornillado con bandas con bandas
- Buje hexágono atornillado de acero inoxidable
- Pezón hexágono atornillado de acero inoxidable
- Pezón de soldadura atornillada de acero inoxidable
- Tuerca hexágono de acero inoxidable atornillada
- Tapa hexágono atornillada de acero inoxidable
- Enchufe hexágono atornillado de acero inoxidable
- Acero inoxidable.
- Camlock de acero inoxidable
- Pezón de tubería y acoplamiento
- Accesorios de tubería de hierro maleable
- Ajuste de tubería de hierro dúctil
- Desapulento del adaptador de la articulación y la brida
- Reparar abrazaderas
- Acoplamiento flexible de goma
- Accesorios de sujeción de tubería
-
válvulas
- Válvula de mariposa
-
Válvula de bola
- Válvula de bola roscada de acero inoxidable de 1 por ciento
- Válvula de bola roscada de acero inoxidable de 2 piezas
- Válvula de bola con brida de acero inoxidable de 2 piezas
- Válvula de bola flotante de brida de acero inoxidable de 2 piezas
- Válvula de bola roscada de acero inoxidable de 3 piezas
- Válvula de bola de brida de acero inoxidable de 3 piezas
- Válvula de bola roscada de acero inoxidable
- Mini válvula de bola con manija de palanca
- Válvula de bola tipo oblea
-
Válvula de compuerta
- DIN 3352 F4/F5 Válvulas de puerta con bridas sentadas resistentes
- Válvula de compuerta de extremo con brida de metal DIN3352 F4 F4
- Válvula de compuerta de extremo con paletas de tallo no subida BS5150
- Válvula de compuerta con brida asentada BS5163 Resiliente
- BS3464 Válvulas de compuerta de vástago no subida
- MSS SP-70 Válvula de compuerta de metal de hierro fundido de hierro fundido
- MSS SP-70 Válvula de compuerta del vástago de hierro fundido de hierro fundido
- AWWA C509 AWWA C515 Válvula de puerta de hierro fundido
- Válvula de compuerta final del zócalo para tubería de PVC
- Válvula de puerta de acero fundida DIN3202
- API600 OS e Y válvula de compuerta de acero fundido
- Válvula de globo
- Verifique la válvula y el colador Y

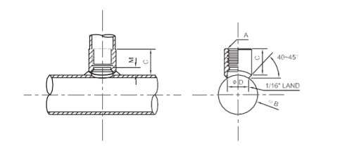
Threaded Welded Outlet
Solicitud:
Threaded Welded Outlet
Material: Cabon Steel S/10, S/40 Stainless Steel S/10, S/20 Material for forging
Surface Treatment: anti-rust oil or Electro Galvanized
Applied Pipe Type: ASTM A53 Grade A or B / ASTM A 106-B / KSD 3507 / KSD 3562 / KSD 3576
For Use With: Air, Natural Gas, Oil, Steam, Water
Threads: ASME B1.20.1, ISO 7/1
Specifications Met: ANSI/ASME B16.11, MSS SP-97
Especificación:
Threaded welded outlet dimension
Size | In | 1/2" | 3/4" | 1" | 1-1/4" | 1-1/2" | 2" | 2-1/2" | 3" | 4" |
Pipe Run Size | In | 1-4" | 1-4" | 1-1/4"-6" | 1-1/2"-6" | 2"-6" | 3"-6" | 3"-8" | 4"-8" | 6"-8" |
A | In | 1.083 | 1.331 | 1.555 | 1.87 | 2.165 | 2.724 | 3.209 | 3.957 | 4.961 |
C | In | 1.063 | 1.126 | 1.248 | 1.374 | 1.626 | 1.752 | 2.217 | 2.5 | 3 |
Note:
Eathu have no UL/FM certificate for the Threaded Welded Outlet, only ISO and CE certificate.
Send samples can be accepted.
Threaded Welded Outlet used for fire hydrant, for cold water system please check high-pressure-threaded-outlet
Eathu MOQ is 500pcs for each size.
Detalles de producto
Threaded Welded Outlet
The threaded welded outlet we developed are ranging from 1/2″ to 4″. They are UnLets and SafeLet. Threaded welded outlet allow you to create a threaded outlet anywhere along a pipe. They are also known as branch connectors and are comparable to Thredolet. To install, drill a hole in your pipe to match the fitting’s pipe size and weld in place.
●Threaded Welded Outlet Fittings For Fire Protection & Other Low pressure pipeline system.
●Threaded Welded Outlet Fittings are rated for 300 psi when used in fire sprinkler system applications.
pregunte ahora
Si tiene alguna duda o necesidad sobre el producto, por favor rellene el siguiente formulario y nos pondremos en contacto con usted lo antes posible.